FÍSICA EM

1º Ano | Aula 14: Acoplamento de Polias e Engrenagens

📚 Resumo

O Acoplamento de Polias estuda como o movimento circular é transmitido de um elemento para outro. Existem dois tipos principais: por eixo comum (mesma velocidade angular) e por contato ou correia (mesma velocidade linear).

Esse princípio é a base de máquinas simples, sistemas de transmissão de bicicletas, motores e relógios mecânicos.

📖 Acoplamento de Polias e Engrenagens

1. Acoplamento por Eixo Comum (Coaxial)

Quando duas polias estão fixas ao mesmo eixo, elas giram juntas. Isso implica que:

Acoplamento por Eixo Comum.
Figura 1: Acoplamento por Eixo Comum.
  • Velocidade Angular ($\omega$): É a mesma para ambas ($\omega_A = \omega_B$).
  • Frequência ($f$) e Período ($T$): São iguais ($f_A = f_B$ e $T_A = T_B$).
  • Velocidade Linear ($v$): É maior na polia de maior raio ($v = \omega \cdot R$).

2. Acoplamento por Correia ou Contato

Quando as polias estão ligadas por uma correia ou encostadas uma na outra (engrenagens):

  • Velocidade Linear ($v$): É a mesma em todos os pontos da correia ou no ponto de contato ($v_A = v_B$).
  • Relação Fundamental: $\omega_A \cdot R_A = \omega_B \cdot R_B$ ou $f_A \cdot R_A = f_B \cdot R_B$.
  • Proporcionalidade: A polia menor gira com maior frequência (mais rápido).
Acoplamento por Correia ou Contato.
Figura 2: Acoplamento por Correia ou Contato.

3. Engrenagens com Dentes

Para engrenagens, o número de dentes ($N$) é proporcional ao raio. A relação de transmissão fica:

Tipo de Acoplamento O que é igual? Equação de Comparação
Mesmo EixoAngular ($\omega$)$\frac{v_A}{R_A} = \frac{v_B}{R_B}$
Correia/CorrenteLinear ($v$)$f_A \cdot R_A = f_B \cdot R_B$
EngrenagensLinear ($v$)$f_A \cdot N_A = f_B \cdot N_B$

💡 Física em Ação

🚴 Bicicleta

Ao mudar a marcha para uma catraca menor (raio menor), a roda traseira gira mais vezes para cada pedalada na coroa, aumentando a velocidade.

⚙️ Redutores

Em batedeiras e furadeiras, engrenagens de tamanhos diferentes são usadas para trocar alta velocidade de rotação por maior força (torque).

✅ 5 Questões Resolvidas (R 1 a 5)

R 1: Eixo Comum

Enunciado: Duas polias A e B estão no mesmo eixo. O raio de A é 10 cm e o de B é 30 cm. Se a velocidade linear de A é 2 m/s, qual a de B?

Resolução: No mesmo eixo, $\omega_A = \omega_B$.
$\frac{v_A}{R_A} = \frac{v_B}{R_B} \implies \frac{2}{10} = \frac{v_B}{30}$
$10 \cdot v_B = 60 \implies v_B = \mathbf{6\text{ m/s}}$.

R 2: Transmissão por Correia

Enunciado: Uma polia A ($R = 20\text{ cm}$) aciona uma polia B ($R = 5\text{ cm}$) por correia. Se A gira a 100 Hz, qual a frequência de B?

Resolução: Por correia, $f_A \cdot R_A = f_B \cdot R_B$.
$100 \cdot 20 = f_B \cdot 5 \implies 2000 = 5 \cdot f_B$
$f_B = \mathbf{400\text{ Hz}}$.

R 3: Engrenagens e Dentes

Enunciado: Uma engrenagem com 60 dentes gira a 200 RPM. Ela está acoplada a outra de 20 dentes. Qual a rotação da segunda?

Resolução: $f_1 \cdot N_1 = f_2 \cdot N_2 \implies 200 \cdot 60 = f_2 \cdot 20$.
$12000 = 20 \cdot f_2 \implies f_2 = \mathbf{600\text{ RPM}}$.

R 4: Velocidade Angular no Acoplamento

Enunciado: Duas rodas em contato giram sem deslizar. Se a roda maior tem o dobro do raio da menor, qual a relação entre suas velocidades angulares?

Resolução: $v_1 = v_2 \implies \omega_1 \cdot R_1 = \omega_2 \cdot R_2$.
Se $R_1 = 2 \cdot R_2$, então $\omega_1 \cdot (2R_2) = \omega_2 \cdot R_2$.
$\omega_2 = 2 \cdot \omega_1$. A menor gira com o dobro da velocidade angular.

R 5: Sentido de Rotação

Enunciado: Como se comportam os sentidos de rotação em acoplamentos por correia simples e por contato direto?

Resolução:
- Correia simples: Ambas giram no mesmo sentido.
- Contato direto (engrenagens): Giram em sentidos opostos.

✍️ 5 Questões Propostas (P 6 a 10)

P 6: Conceito de Período Coaxial

Enunciado: Duas polias no mesmo eixo possuem períodos diferentes? Explique.

Resolução: Não. No mesmo eixo, elas completam uma volta exatamente ao mesmo tempo, logo o período ($T$) é idêntico.

P 7: Polia de Bicicleta

Enunciado: Em uma bicicleta, a coroa tem raio de 12 cm e a catraca 4 cm. Se a coroa dá 1 volta, quantas voltas dá a catraca?

Resolução: $f_1 \cdot R_1 = f_2 \cdot R_2 \implies 1 \cdot 12 = f_2 \cdot 4 \implies f_2 = 3$ voltas.

P 8: Velocidade Tangencial

Enunciado: Se uma correia de transmissão se move a 5 m/s, qual a velocidade tangencial das polias que ela conecta?

Resolução: A velocidade tangencial das polias é igual à velocidade da correia (se não houver deslizamento), ou seja, 5 m/s.

P 9: Razão de Frequências

Enunciado: Duas polias acopladas por correia possuem raios de 50 cm e 10 cm. Qual a razão entre a frequência da menor e da maior?

Resolução: $f_{menor} \cdot 10 = f_{maior} \cdot 50 \implies \frac{f_{menor}}{f_{maior}} = \frac{50}{10} = 5$.

P 10: Acoplamento Triplo

Enunciado: A polia A aciona B por correia. B está no mesmo eixo de C. Quem tem a maior velocidade angular?

Resolução: B e C têm a mesma velocidade angular ($\omega$). Se A for maior que B, B (e C) terão uma $\omega$ maior que A.

🎓 TESTES (T 11 a 15)

T 11: (Unifesp) Movimento Circular

Pai e filho passeiam de bicicleta e andam lado a lado com a mesma velocidade. Sabe-se que o diâmetro das rodas da bicicleta do pai é o dobro do diâmetro das rodas da bicicleta do filho. Pode-se afirmar que as rodas da bicicleta do pai giram com:

A) a metade da frequência e da velocidade angular com que giram as rodas da bicicleta do filho.
B) a mesma frequência e velocidade angular com que giram as rodas da bicicleta do filho.
C) o dobro da frequência e da velocidade angular com que giram as rodas da bicicleta do filho.
D) a mesma frequência das rodas da bicicleta do filho, mas com metade da velocidade angular.
E) a mesma frequência das rodas da bicicleta do filho, mas com o dobro da velocidade angular.

Resolução: Alternativa A.
Como os dois andam lado a lado, as velocidades lineares ($v$) nas extremidades das rodas são iguais ($v_p = v_f$). Sabemos que $v = \omega \cdot R$ e que o raio do pai ($R_p$) é o dobro do raio do filho ($R_f$): $$ \begin{aligned} v_p &= v_f \\ \omega_p \cdot R_p &= \omega_f \cdot R_f \\ \omega_p \cdot (2 \cdot R_f) &= \omega_f \cdot R_f \\ \omega_p \cdot 2 &= \omega_f \\ \omega_p &= \frac{\omega_f}{2} \end{aligned} $$ Como a velocidade angular ($\omega$) é diretamente proporcional à frequência ($\omega = 2\pi f$), se a velocidade angular do pai é a metade, a sua frequência também será a metade da do filho.

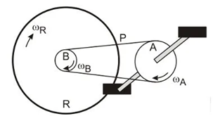
T 12: (UFRGS) Sistema de Transmissão

A figura apresenta esquematicamente o sistema de transmissão de uma bicicleta convencional. Na bicicleta, a coroa A conecta-se à catraca B por meio da correia P. Por sua vez, B é ligada à roda traseira R, girando com ela quando o ciclista está pedalando. Nessa situação, supondo que a bicicleta se move sem deslizar, as magnitudes das velocidades angulares, $\omega_A$, $\omega_B$ e $\omega_R$, são tais que:

Gráfico °C x °Z.

A) $\omega_A < \omega_B = \omega_R$
B) $\omega_A = \omega_B < \omega_R$
C) $\omega_A = \omega_B = \omega_R$
D) $\omega_A < \omega_B < \omega_R$
E) $\omega_A > \omega_B > \omega_R$

Resolução: Alternativa A.
A análise deve ser dividida em duas partes: $$ \begin{aligned} \text{1. Acoplamento por correia (A e B):} \\ \text{As velocidades lineares são iguais: } v_A &= v_B \\ \omega_A \cdot R_A &= \omega_B \cdot R_B \\ \text{Como o raio da coroa (} R_A \text{) é maior que o da catraca (} R_B \text{):} \\ \omega_A &< \omega_B \\ \\ \text{2. Acoplamento por eixo (B e R):} \\ \text{A catraca B e a roda R giram juntas no mesmo eixo:} \\ \omega_B &= \omega_R \\ \\ \text{Conclusão:} \\ \omega_A &< \omega_B = \omega_R \end{aligned} $$

T 13: (UFPB) Transmissão e Velocidade Escalar

Em uma corrida de bicicleta, o ciclista desloca-se com velocidade escalar constante, mantendo um ritmo estável de pedaladas, capaz de imprimir no disco dianteiro (coroa) uma velocidade angular de $4\text{ rad/s}$. A configuração possui raio da coroa $R_{coroa} = 4R$, raio da catraca $R_{catraca} = R$ e o raio da roda $R_{roda} = 0,5\text{ m}$. Com base no exposto, conclui-se que a velocidade escalar do ciclista é:

Teste 13.

A) 2 m/s
B) 4 m/s
C) 8 m/s
D) 12 m/s
E) 16 m/s

Resolução: Alternativa C.
A resolução ocorre em duas etapas: a transmissão da coroa para a catraca e o movimento da roda. $$ \begin{aligned} \text{1. Transmissão Coroa } \rightarrow \text{ Catraca (mesma velocidade linear):} \\ v_{coroa} &= v_{catraca} \\ \omega_{coroa} \cdot R_{coroa} &= \omega_{catraca} \cdot R_{catraca} \\ 4 \cdot (4R) &= \omega_{catraca} \cdot R \\ 16R &= \omega_{catraca} \cdot R \\ \omega_{catraca} &= 16\text{ rad/s} \\ \\ \text{2. Catraca e Roda (mesma velocidade angular):} \\ \omega_{roda} &= \omega_{catraca} = 16\text{ rad/s} \\ \\ \text{3. Velocidade escalar da bicicleta (velocidade linear da roda):} \\ v_{bicicleta} &= \omega_{roda} \cdot R_{roda} \\ v_{bicicleta} &= 16 \cdot 0,5 \\ v_{bicicleta} &= 8\text{ m/s} \end{aligned} $$

T 14: (VUNESP) Sistema de Engrenagens

Um pequeno motor a pilha é utilizado para movimentar um carrinho de brinquedo. Um sistema de engrenagens transforma a velocidade de rotação desse motor na velocidade de rotação adequada às rodas do carrinho. Esse sistema é formado por quatro engrenagens, A, B, C e D, sendo que A está presa ao eixo do motor, B e C estão presas a um segundo eixo e D a um terceiro eixo, no qual também estão presas duas das quatro rodas do carrinho.

Teste 14

Nessas condições, quando o motor girar com frequência f$_m$, as duas rodas do carrinho girarão com frequência f$_R$. Sabendo que as engrenagens A e C possuem 8 dentes, que as engrenagens B e D possuem 24 dentes, que não há escorregamento entre elas e que f$_M$ = 13,5 Hz, é correto afirmar que f$_R$, em Hz, é igual a

A) 1,5.
B) 3,0.
C) 2,0.
D) 1,0.
E) 2,5.

Resolução: Alternativa A.
Vamos seguir o movimento do motor até as rodas passo a passo: $$ \begin{aligned} \text{1. De A (motor) para B (engrenamento):} \\ f_A \cdot N_A &= f_B \cdot N_B \\ 13,5 \cdot 8 &= f_B \cdot 24 \\ f_B &= \frac{13,5 \cdot 8}{24} = \frac{13,5}{3} = 4,5\text{ Hz} \\ \\ \text{2. De B para C (mesmo eixo):} \\ \text{Engrenagens no mesmo eixo giram juntas: } \\ f_C &= f_B = 4,5\text{ Hz} \\ \\ \text{3. De C para D (engrenamento):} \\ f_C \cdot N_C &= f_D \cdot N_D \\ 4,5 \cdot 8 &= f_D \cdot 24 \\ f_D &= \frac{4,5 \cdot 8}{24} = \frac{4,5}{3} = 1,5\text{ Hz} \\ \\ \text{Conclusão:} \\ \text{Como as rodas estão no eixo de D: } \\ f_R &= f_D = \mathbf{1,5\text{ Hz}} \end{aligned} $$

T 15: (ENEM) Marchas de Bicicleta

Uma bicicleta do tipo mountain bike tem uma coroa com 3 engrenagens e uma catraca com 6 engrenagens, que, combinadas entre si, determinam 18 marchas (número de engrenagens da coroa vezes o número de engrenagens da catraca).

Teste 15

Os números de dentes das engrenagens das coroas e das catracas dessa bicicleta estão listados no quadro.

Engrenagens
N° de dentes da coroa 46 36 26 - - -
N° de dentes da catraca 24 22 20 18 16 14

Sabe-se que o número de voltas efetuadas pela roda traseira a cada pedalada é calculado dividindo-se a quantidade de dentes da coroa pela quantidade de dentes da catraca. Durante um passeio em uma bicicleta desse tipo, deseja-se fazer um percurso o mais devagar possível, escolhendo, para isso, uma das seguintes combinações de engrenagens (coroa x catraca):

I II III IV V
$1^a \times 1^a$ $1^a \times 6^a$I $2^a \times 4^a$ $3^a \times 1^a$ $3^a \times 6^a$

A combinação escolhida para realizar esse passeio da forma desejada é

A) I
B) II
C) III
D) IV
E) V

Resolução: Alternativa D.
Para pedalar o mais devagar possível, a roda traseira deve girar o mínimo possível para cada pedalada. Isso ocorre quando a razão entre os dentes da coroa e da catraca resulta no menor valor numérico. Vamos calcular as opções sugeridas: $$ \begin{aligned} \text{I (1ª coro x 1ª cat): } \frac{46}{24} &\approx 1,91 \\ \text{II (1ª coro x 6ª cat): } \frac{46}{14} &\approx 3,28 \\ \text{III (2ª coro x 4ª cat): } \frac{36}{18} &= 2,00 \\ \text{IV (3ª coro x 1ª cat): } \frac{26}{24} &\approx \mathbf{1,08} \text{ (Menor razão)} \\ \text{V (3ª coro x 6ª cat): } \frac{26}{14} &\approx 1,85 \end{aligned} $$ A combinação IV (menor coroa disponível com a maior catraca disponível) é a que proporciona a menor velocidade escalar.